Трубчатые печи
На нефтеперерабатывающих заводах широко распространены одно- и двускатные трубчатые печи шатрового типа.
Схематический разрез двускатной печи приведен на рис. 16. Печь состоит из двух радиантных камер и одной конвекционной. Конвекционная камера отделена от радиантных стенками из огнеупорного кирпича. Эти стенки называются перевальными. Дымовые газы удаляются из печи через дымоход (боров), который начинается в нижней части конвекционной камеры, и дымовую трубу.
Трубы змеевика крепятся к стенкам радиантной камеры печи при помощи подвесок и кронштейнов из жаропрочной стали, а в конвекционной камере укладываются на специальные решетки. Между собой они соединяются сварными калачами или разъемными переходами-двойниками. В радиантной камере имеются две группы труб—нижняя (подовый экран) и верхняя (потолочный экран).
Шатровые печи, несмотря на их универсальность, простоту в эксплуатации, в настоящее время не сооружаются. Их основной недостаток—низкие технико-экономические показатели. Коэффициент полезного действия этих печей не превышает 50—60%, так как почти нигде не используется тепло дымовых газов. Эти печи эксплуатируются с большим коэффициентом избытка воздуха, что также сказывается на к. п. д. печи. Шатровые печи требуют много места, для их сооружения расходуется большое количество легированного металла.
Недостатки печей шатрового типа и других устаревших конструкций устраняются в конструкциях новых печей. К печам нового типа относятся трубчатые печи с излучающими стенками из панельных горелок, печи объемно-настильного пламени, вертикально-факельные печи, разработанные институтом ВНИИНефтемаш, а также вертикальные трубчатые печи, разработанные в институте Ленгипрогаз.
Особенностью вертикальных печей является вертикальное расположение труб в радиантных змеевиках этих печей. Вертикальные трубчатые печи подразделяются на вертикальные цилиндрические и вертикальные секционные.
Вертикальные цилиндрические печи имеют тепловую производительность от 1,5 до 12 млн. ккал/ч.
Вертикальные секционные печи наиболее часто применяются для современных установок прямой перегонки. Тепловая производительность этих печей колеблется от 10 до 100—125 млн. ккал/ч.
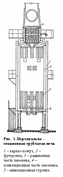
Устройство вертикальной секционной печи показано на рис. 17. Печи этого типа состоят из ряда секций одинаковой теплопроизводительности и размеров.
Количество секций зависит от необходимой теплопроизводительности печи. Каждая секция состоит из радиантной и конвекционной камер, причем радиантные части всех секций печи объединяются в общий металлический сварной футерованный изнутри корпус.
Радиантная часть печи имеет в плане форму прямоугольника. В днище радиантных камер расположены форсунки. Чтобы улучшить обслуживание форсунок, печь приподнимается над землей на металлических стойках каркаса. Трубы змеевика располагаются внутри камеры, причем если печь состоит из одной секции, то все трубы змеевиков расположены у стен печи. Если в печи имеется несколько секции, то наряду с однорядными экранами появляются двухрядные, расположенные между топочными пространствами секции.
Сверху каждой радиантной камеры помещается конвекционная камера, которая также имеет прямоугольную форму, футерована легким жаростойким бетоном и содержит пакет горизонтальных ошипованных труб. Конвекционная камера заканчивается сборником продуктов сгорания, имеющим форму усеченной пирамиды. Продукты сгорания затем уходят в дымовую трубу. Дымовые трубы могут быть сооружены для каждой секции отдельно или быть общими для нескольких секций.
Смотрите также
Список сокращений
БР
– блок подготовки и закачки реагента.
БРХ
– блок реагентного хозяйства.
ДНС
– ...
Синтез замещенных пирролов
Пятичленные
гетероциклические структуры, такие как пиррол, а также сопряженные молекулы,
содержащие пиррольные фрагменты потенциально важны в качестве оптических
электроактивных материалов. ...
Экологические аспекты создания водородной энергетики (для учащихся
средней школы)
Введение в проблему водородной энергетики для учащихся 9 классов на
первом этапе возможно в виде как приведенных ниже выполненных самим учителем докладов,
так и небольших сообщений, подготовленных с ...
